| Главная | / | Каталог | Шины | / | Я|||_нп-т_|||R | / | _подогревы, сепараторы_ | / | DEFA | / | Подогреватель двигателя DEFA | / | Подогреватель двигателя Defa-411768 550W, d.sch-8, |
|
|
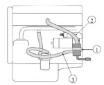
Подогреватель двигателя DEFA предназначен для предпускового прогрева двигателя и обеспечивает надежный пуск в холодное время года, при этом уменьшается содержание вредных веществ в выхлопе. По сравнению с холодным двигателем, двигатель, предварительно прогретый с помощью системы предпускового подогрева, расходует гораздо меньше горючего. Испытания, проведенные такими организациями, как Teknologisk Institutt(TI) в Осло, VTT в Финляндии и Svenska Bilprovning в Швеции, дока-зали, что при использовании подогревателя двигателя расход топлива сокращается на 0,1-0,5 литра в расчете на один пуск. Кроме этого, при использовании подогревателя двигателя каждый отдельно взятый автомобилист может уменьшить свою долю вредных выбросов на 60-80% в расчете на первые 4 километра движения.ВНИМАНИЕ!!! ПРОВОДА, КАБЕЛИ ДЛЯ ПОДКЛЮЧЕНИЯ К СЕТИ 220В ПОСТАВЛЯЮТСЯ И ЗАКАЗЫВАЮТСЯ ОТДЕЛЬНО. ДАЛЕЕ>> >>> Общая дополнительная инфрмация по установке и технической поддержке>> Устанавливается на двигатель: Автомобиль Год Выпуска Двигатель Подогреватель TOYOTA AURIS 1.4 D-4D 07- ___ 1ND-TV ___ 411768 COROLLA 1.4 D-4D 04-06 ___ 1ND-TV ___ 411768 COROLLA 1.4 D-4D 07- ___ 1ND-TV ___ 411768 YARIS 1.4 D-4D 02-05 ___ 1ND-TV ___ 411768 YARIS 1.4 D-4D 06-08 ___ 1ND-TV ___ 411768 YARIS VERSO 1.4 D-4D 02- ___ 1ND-TV ___ 411768 |
|
ВАШ ВОПРОС ИЛИ КОММЕНТАРИЙ: |
|
СПИСОК КОММЕНТАРИЕВ
|


